欢迎来到佑迈疾配网官网!
网站地图
关于我们
网站首页
行业新闻
产品中心
汽配知识
新车上市
关于我们
当前位置:
主页
>
行业新闻
行业新闻
理想汽车正式进入埃及、哈萨克斯坦和阿塞拜疆市场
584
行业新闻
2026-03-14 00:30:01
佛瑞亚海拉斩获大单
957
行业新闻
2026-03-14 00:30:01
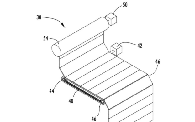
福特汽车申请乘客显示系统专利
620
行业新闻
2026-03-14 00:30:01
研究人员发明亚毫米级机器人 能够感知、思考并自主行动。
742
行业新闻
2026-03-14 00:30:01
比亚迪申请加入全球智慧物联网联盟,携手推进“人-车-家”全场景互联
912
行业新闻
2026-03-14 00:30:01
首页
上一页
125
126
127
128
129
下一页
末页