欢迎来到佑迈疾配网官网!
网站地图
关于我们
网站首页
行业新闻
产品中心
汽配知识
新车上市
关于我们
当前位置:
主页
>
行业新闻
行业新闻
CES 2026:智元发布开源仿真平台 Genie Sim 3.0
628
行业新闻
2026-02-10 00:33:26
东盟车市变局:燃油车退潮,电动车崛起
664
行业新闻
2026-02-10 00:33:24
CES 2026:因克斯携三款核心产品亮相,赋能人形机器人量产
572
行业新闻
2026-02-10 00:33:24
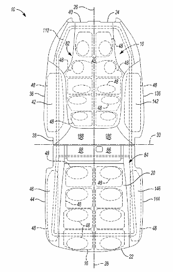
通用汽车申请尺寸可调节座椅专利
775
行业新闻
2026-02-10 00:33:23
墨西哥登顶,欧洲多点开花丨2025年1-11月比亚迪乘用车出口TOP10国家
935
行业新闻
2026-02-10 00:33:23
首页
上一页
204
205
206
207
208
下一页
末页